自学精灵
首页
学员成果
评价
分类
留言板
更多
进群
本站简介
问题解答
联系站长
更新记录
网站稳定性
在线工具
登录
注册
所有分类
搜索
所有分类
未分类
Redis
二级分类
全部
指南
Java基础
Java集合
JVM
多线程
MySQL
Redis
设计模式
Spring
SpringBoot
MyBatis
MQ
Shiro
分布式综合
SpringCloud
ELK
综合性问题
杂项
排序
最新
更新
推荐
下载
浏览
评论
随机
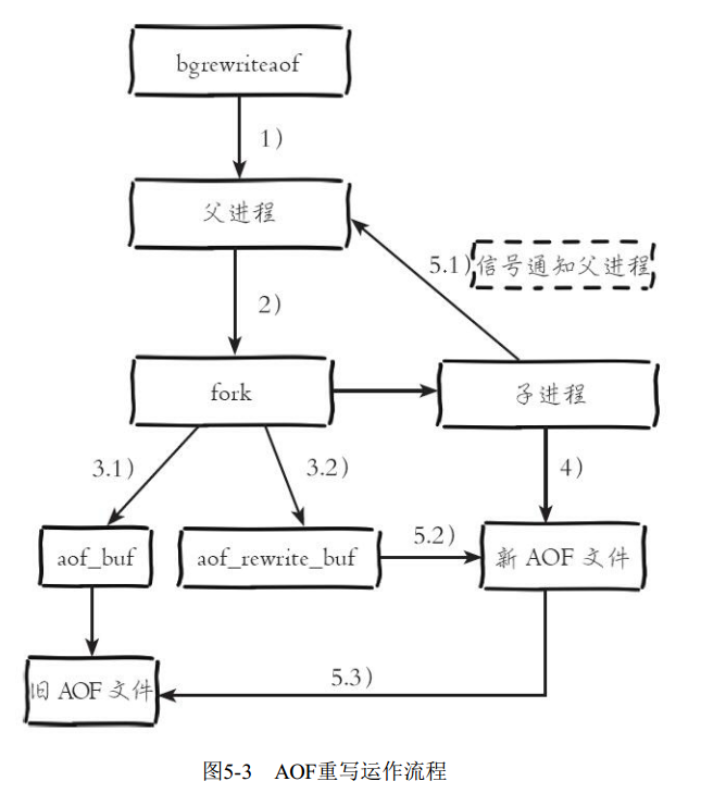
Redis-重写机制(减小AOF文件大小)
Java面试题
本文介绍Redis的重写机制。
2024-02-19
4743
2
Redis持久化-AOF和RDB的区别
Java面试题
本文介绍Redis的持久化。会介绍AOF和RDB的区别,包括:使用场景,优缺点等。
2024-05-22
7801
2
Redis原理-为什么性能高,速度快?
Java面试题
本文介绍为什么Redis速度很快,性能很高。
2025-08-05
10151
4
Redis原理-数据类型的底层结构
Java面试题
本文介绍Redis的数据类型的底层结构(内部编码)。包括:字符串、哈希、列表、集合、有序集合。
2025-02-21
7011
2
Redis-数据类型及其使用场景
Java面试题
本文介绍Redis的所有数据类型,包括:含义、应用场景、最大存储量。
2025-02-22
11338
3
上一页
1
2
3
升级VIP
夜间模式
返回顶部
显示验证码
没有账号?
注册
忘记密码?
社交账号快速登录
获取验证码
已有账号?
登录
社交账号快速登录